新闻动态

  • 发电机的保护功能及作用

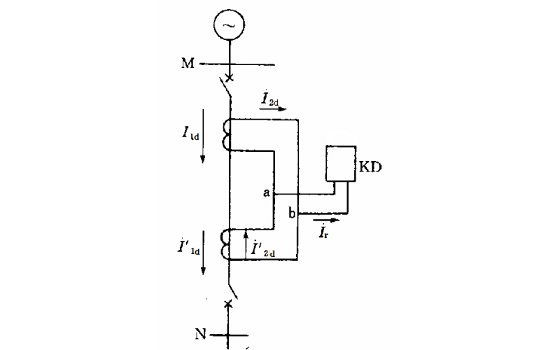
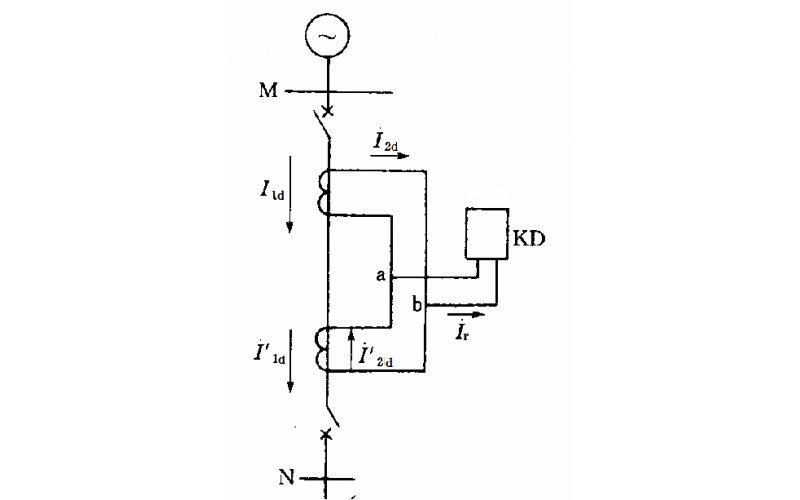
    1. 纵差动保护:纵向对比发电机端与中性点的电流,发电机定子绕组及其引出线相间短路故障的主保护。 2. 横差动保护:横向对比分支电流,反映发电机定子绕组一相匝间短路和同一相两关联分支间的匝间短路故障。

    2024-07-17 星空体育在线注册,星空体育(中国)

  • 某电厂启磨煤机导致母线失电机组跳闸案例分析

    事件前机组运行方式:#4机组有功:200MW,无功:48MVar,主汽温度532/533℃,再热汽温546/540℃,双侧风烟系统运行,厂用标准方式,#1-4磨煤机运行,#5磨煤机检修;#2给水泵运行,#3给水泵备用,#1给水泵检修。

    2024-05-20 星空体育在线注册,星空体育(中国)

  • 发电机定子接地保护动作停机事件

    1号机组锅炉蒸发量381t/h、主蒸汽压力12.0MPa、主蒸汽温度535℃、再热蒸汽温度535℃、真空-85.1kPa、有功负荷106MW、无功负荷21MVAR、定子电压13.86KV、定子电流4555A、励磁电压134V、励磁电流1012A,厂用电源及轴封供汽由本机带,发电机主辅设备运行正常、保护投入正常,封闭母线微正压装置运行正常。

    2024-04-26 星空体育在线注册,星空体育(中国)

  • 主变中性点绝缘方式及倒闸操作

    主变中性点绝缘方式及倒闸操作

    2023-07-25 星空体育在线注册,星空体育(中国)

  • 主变中性点绝缘方式及倒闸操作

    主变中性点绝缘方式及倒闸操作

    2023-05-09 星空体育在线注册,星空体育(中国)

  • 发电机的主要继电保护都有啥?

    发电机的主要继电保护都有啥?

    2023-04-26 星空体育在线注册,星空体育(中国)

  • 电力变压器的保护配置知识分享

    电力变压器的保护配置知识分享

    2023-04-20 星空体育在线注册,星空体育(中国)

  • 电力变压器的保护配置

    电力变压器的保护配置

    2023-03-27 星空体育在线注册,星空体育(中国)

上一页12下一页 转至第
首页
产品
新闻
联系