WAX-C320系列差压流量计波动故障处理分享
2022-08-22 星空体育在线注册,星空体育(中国)
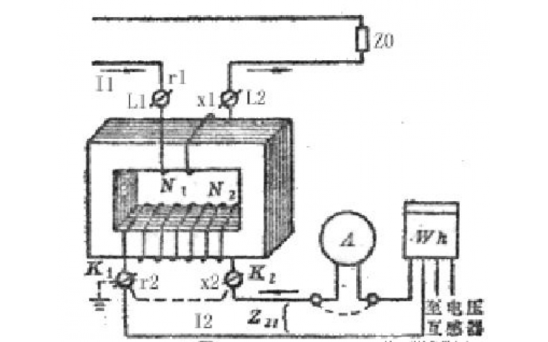
电压互感器与电流互感器的区别介绍
2022-08-22 星空体育在线注册,星空体育(中国)电气
使用热电偶时,为什么要使用补偿导线
2022-08-20 星空体育在线注册,星空体育(中国)
锅炉过热器减温水和再热器减温水对机组影响和作用
泵用恒位油杯的工作原理分享
#2机组AST电磁阀试验油压波动分析原因
2022-08-19 星空体育在线注册,星空体育(中国)阀门
汽机除氧器构造及原理分享
2022-08-19 星空体育在线注册,星空体育(中国)设备
锅炉单台引风机跳闸现象及具体处理方法分享